
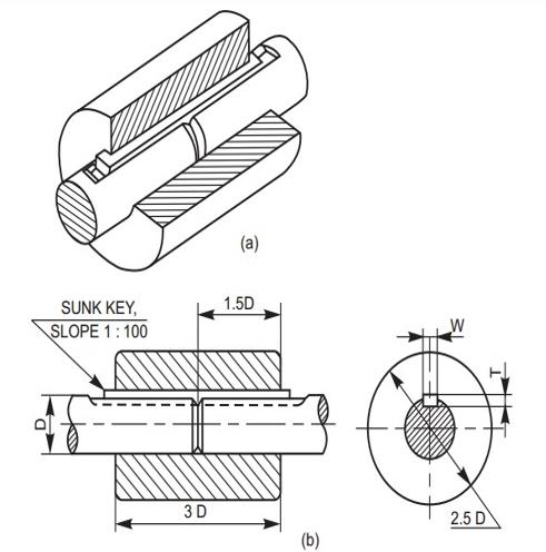
To draft a butt muff coupling by using auto CAD 2016 software
Auto cad 2016
Draw commands:Line, Rectangle, Poly line, Polygon, Circle, Construction line, Arc, Spline, Ray, Hatch.
Modify commands:Erase,Copy,Mirror,Array,Move,Rotate,Trim,Extend,Stretch,Fillet,Join, Chamfer.
Dimension command:
The required muff coupling is drafted in auto cad 2016 software.
Get all latest content delivered to your email a few times a month.
Resources: